Automotive interior design today seems mostly focused on electronics. Companies are obsessed with having the largest, brightest screens, and the most whiz-bang interfaces, from voice to gesture controls. That’s not to say that there isn’t room for improvement with other parts of the interior. Some folks at Bentley, turned their attention to what’s usually one of the most basic car features: the cupholder. In a patent submitted by the company, Bentley engineers outline what could be the fanciest, most high-tech cupholder ever imagined. It sounds really cool, though before the company launches it in a Flying Spur or Bentayga, we have a suggestion for them.

Bentley cupholder diagram

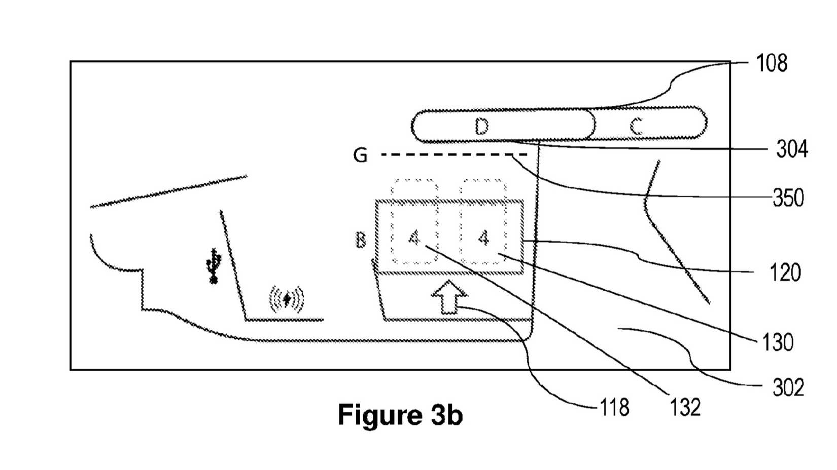
Diagram showing parts of the adjustable cupholder design from Bentley

The Cupholders Have Automatic Power Adjustments

According to Bentley’s patent documents, part of the idea came from new opportunities afforded by EVs. Specifically, the lack of driveshafts and exhaust pipes running down the middle of the car offers more storage space:

“The advent of electric cars has revolutionized vehicle design by eliminating the need for traditional drivetrains, resulting in significantly deeper consoles compared to their petrol counterparts. Modern cupholders in electric vehicles are characterized by increased depth, presenting both opportunities and challenges. While the deeper consoles offer ample space, they also demand an evolution in cupholder design to ensure easy access to the beverage containers.”

The evolution Bentley has in mind, is automatic, power-adjustable cupholders. The company wants to ensure that occupants’ beverages are both easy to access, and that they’re secured and less likely to spill. The solution is having both a power-adjustable lid and cup recess. Each cup recess is adjustable up and down in height. This will allow a beverage to be placed high enough for convenient access, but low enough that it’s less likely to fully tip over. Additionally, the lid can slide into place to cover a beverage to further prevent spills. In combination, the beverage could be moved up to practically touch the lid, giving added spill protection.

The adjustments for all of these components could be carried out fully automatically thanks to motors, actuators, sensors, and perhaps even cameras. Owners could also have presets for some of their preferred drinks, and a manual override could be engaged as needed. The car could even open it upon sensing someone entering the vehicle, or close it if strong deceleration or cornering forces were detected. Plus, in a very Bentley move, the patent further notes the potential for having heating and cooling for the cupholders. Afterall, you don’t want your coffee spilling or getting cold.

There’s An Important Part Missing

All of this sounds great, and highly entertaining, if somewhat frivolous. It really seems like a perfect party trick for a future Bentley. However, experienced as we are with consuming beverages in vehicles, we’ve noticed a portion of the cupholder predicament Bentley skipped over. We didn’t find anywhere in the patent that talks about accommodating drinks of different circumferences and shapes. Frequently, an issue with beverages in vehicles is that an itty-bitty coffee cup is too small for the cupholder to grip, or the recess is far too small to accommodate 7-Eleven’s biggest Big Gulp. In those situations, adjusting the cupholder height and having a lid are secondary concerns. So before Bentley puts its fancy cupholder system into production, it needs to address this extra issue. If it does that, it can be crowned true king of car cupholders.World Intellectual Property Organization

Source: World Intellectual Property Organization