Ferrari has simply been issued a patent that reveals extra of its electrical car plans. The patent is for a brand new kind of motor that Ferrari says will make extra energy and be extra environment friendly to drive its future fashions. However this surprisingly particular patent submitting provides us a glimpse at another items of knowledge.
Of specific curiosity, the Italian supercar firm is transferring parts just like the battery far ahead within the automotive, presumably the place the V12 in one thing just like the 12Cilindri could be. This design considers hybrid and plug-in hybrid powertrains, but additionally one thing very un-Ferrari-like: front-wheel drive.
Patent Discusses New Motor, Entrance-Mount Battery, And FWD
That is proper, and it has us reeling too. Within the patent submitting, Ferrari says that its new motor tech would “ideally” be tailored to “drive into rotation solely the rear wheels,” which is strictly what Ferrari patrons need. However the subsequent line is a shocker: “In a unique embodiment, nevertheless, the entrance wheels might be drive wheels along with, or rather than, the rear wheels” (our emphasis). Who is worked up for the primary front-drive Ferrari EV? Anybody? Bueller?
Don’t fret, that is extra doubtless simply protecting its bases so another person does not infringe on the patent. What’s extra fascinating right here is that Ferrari seems to be pushing the battery pack as far ahead as attainable. That might let it preserve its future electic fashions as near the bottom as you count on. It might additionally give EVs a weight stability way more in line with its basic front-engine V12 grand touring vehicles just like the 812.
In regards to the battery, Ferrari says that “the battery pack is ideally situated within the entrance a part of the car physique.” This is not a tiny hybrid pack, both. Ferrari requires 50 kilowatt-hours or extra, and for an 800-volt system. The charging module, which converts wall energy to battery energy, would even be situated within the entrance. Near the battery pack and between the plug and pack. So Ferrari’s EVs would then cost from the entrance fender, or not less than that is what the model desires. A movable model of its fender scudetto aerografato protect, possibly?
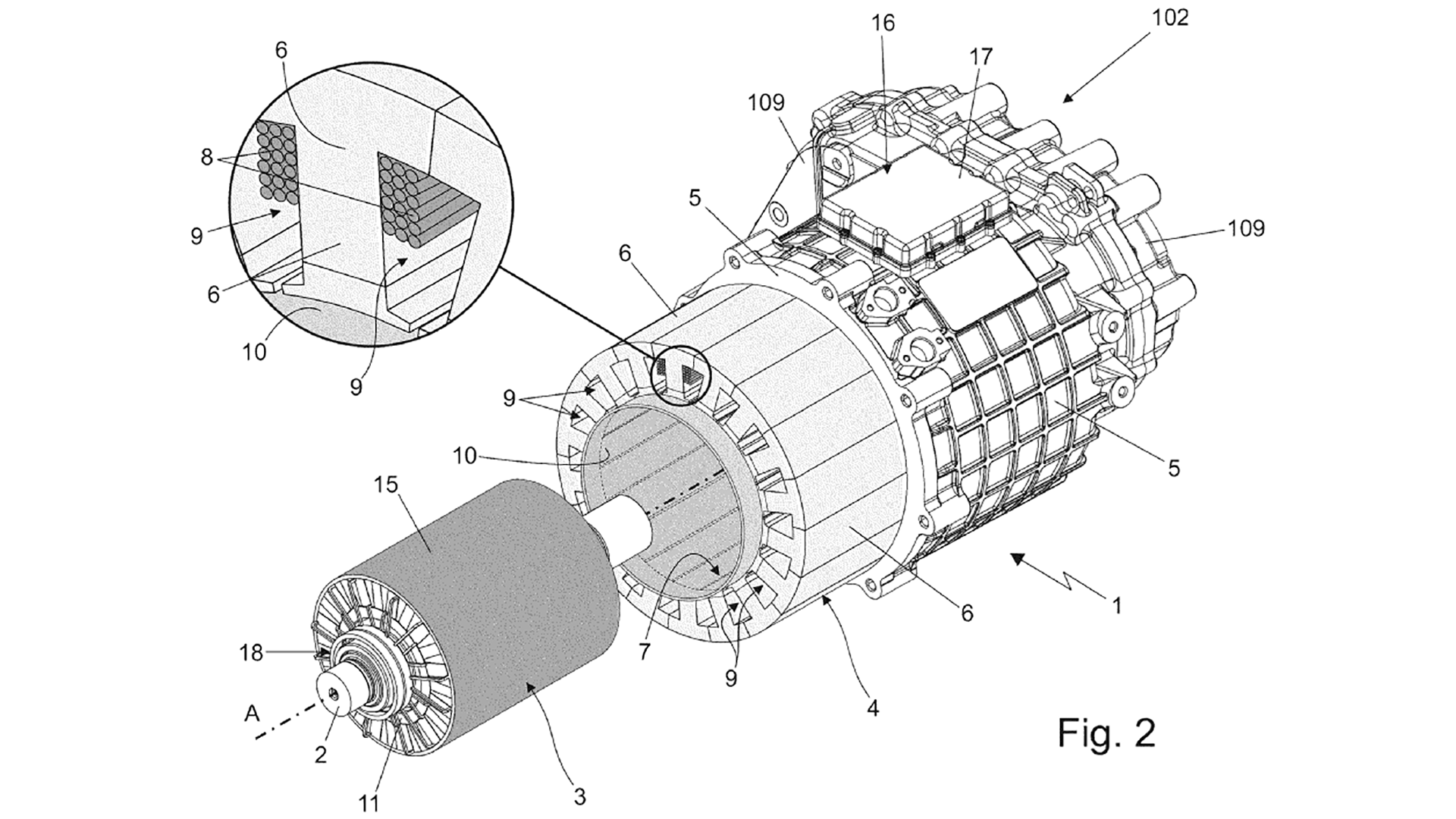
Motor Design Guarantees Extra Energy And Excessive-Warmth Sturdiness
As for the motor, the small print are a lot thinner. Ferrari desires to enhance the present three-phase electrical motor the place magnets are organized in what’s referred to as the Halbach Array. Ferrari says the present configuration is suboptimal and at excessive speeds may even trigger the magnets to lose their magnetic properties.
As an alternative of that association, the place the magnets are organized in a cylinder, Ferrari desires so as to add slots within the housing of the motor. The magnets would relaxation within the slots, together with supplementary coils and magnetic cores. Frankly, the extent of tech on this one, particularly with machine translation from Italian, is slightly complicated even for us. What issues is that Ferrari says that its design will overcome the drawbacks of present preparations whereas being extra environment friendly and “efficiency enhancing.” Relating to Ferrari, we’ll relaxation assured that it takes its energy outputs significantly and hyperlink the patent right here.
Ferrari ought to reveal its first electrical car later this yr. We’re anticipating a brand new SUV very similar to the V12 Purosangue however with a battery and motors as a substitute of an engine. Firm executives have insisted that the brand new automotive will drive and sound as emotional as a fuel Ferrari, even when the expertise is completely different.
Patent filings don’t assure using such expertise in future automobiles and are sometimes used completely as a way of defending mental property. Such a submitting can’t be construed as affirmation of manufacturing intent.
Supply: EUIPO



